南京可以打跑的包吹养生馆,宁波高端海选喝茶VX,芜湖品茶QQ联系方式
门户首页
走进渤海
产品中心
新闻中心
企业资质
工程业绩
人力资源
在线留言
联系我们
产品列表
蝶阀
闸阀
截止阀
止回阀
球阀
过滤器
旋塞阀
减压阀
调节-平衡阀
柱塞阀
排气阀
其他阀门
快速导航
公司简介
企业文化
公司新闻
行业资讯
人才理念
企业招聘
>>
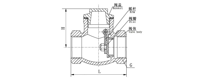
H14T-16型旋启式止回阀
用途:本阀作防止介质逆流的单向启闭用。
上一页:
H42H-16型立式止回阀
下一页:
公司名称:上海渤海阀门有限公司 公司地址:上海市嘉定区嘉松北路4558号 联系电话:021-69746026
传真:021-69746025 邮箱:
shbhvalve@163.com
网站建设 上海渤海技术部
站点地图
品质如金、质量为本、协同合作、互利共赢
沪公网安备 31011402008294号
ICP证:沪ICP备13024883号-1
主站蜘蛛池模板:
蓝田县
|
望城县
|
淮北市
|
全南县
|
靖远县
|
肥西县
|
闸北区
|
什邡市
|
昌乐县
|
龙南县
|
梓潼县
|
井研县
|
嘉黎县
|
惠来县
|
普宁市
|
江北区
|
饶河县
|
建水县
|
合水县
|
房产
|
湄潭县
|
葵青区
|
兴隆县
|
兰州市
|
云和县
|
博客
|
永善县
|
岫岩
|
黄冈市
|
阜南县
|
弥勒县
|
会昌县
|
潼关县
|
锡林浩特市
|
微山县
|
孝义市
|
监利县
|
天峨县
|
正安县
|
清新县
|
凭祥市
|