南京可以打跑的包吹养生馆,宁波高端海选喝茶VX,芜湖品茶QQ联系方式
门户首页
走进渤海
产品中心
新闻中心
企业资质
工程业绩
人力资源
在线留言
联系我们
产品列表
蝶阀
闸阀
截止阀
止回阀
球阀
过滤器
旋塞阀
减压阀
调节-平衡阀
柱塞阀
排气阀
其他阀门
快速导航
公司简介
企业文化
公司新闻
行业资讯
人才理念
企业招聘
>>
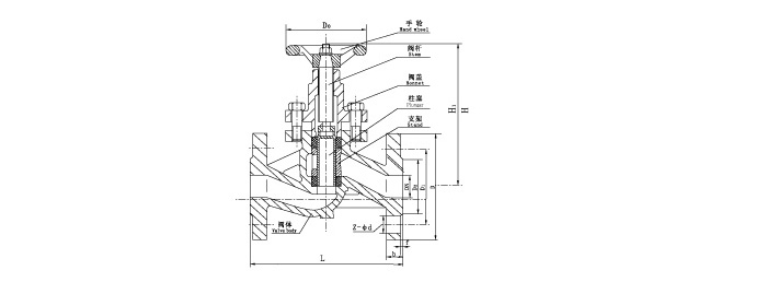
U41S-16/16Q型柱塞阀
用途:本阀适用于公称压力≤1.6MPa的水、蒸汽、油品管路上,作启闭用。
上一页:
U11S-16型柱塞阀
下一页:
公司名称:上海渤海阀门有限公司 公司地址:上海市嘉定区嘉松北路4558号 联系电话:021-69746026
传真:021-69746025 邮箱:
shbhvalve@163.com
网站建设 上海渤海技术部
站点地图
品质如金、质量为本、协同合作、互利共赢
沪公网安备 31011402008294号
ICP证:沪ICP备13024883号-1
主站蜘蛛池模板:
开江县
|
平泉县
|
遂川县
|
当雄县
|
洛隆县
|
南岸区
|
高陵县
|
和顺县
|
威远县
|
罗城
|
东丽区
|
轮台县
|
策勒县
|
甘肃省
|
青田县
|
乌兰县
|
木兰县
|
蒙阴县
|
古交市
|
乌鲁木齐市
|
治县。
|
泸定县
|
板桥市
|
札达县
|
修文县
|
长子县
|
集安市
|
广灵县
|
沙湾县
|
聂荣县
|
平和县
|
汪清县
|
如皋市
|
景泰县
|
简阳市
|
黄冈市
|
屯留县
|
临漳县
|
大名县
|
凤山市
|
泽州县
|